全国空降免费平台_全国同城空降快餐群_全国空降免费服务平台_全国600城市空降服务电话
Toggle navigation
重庆川流机械有限公司
网站首页
公司简介
企业文化
资质证书
公司业绩
汇款信息
重点客户
产品展示
润滑系统
润滑设备配件
新闻动态
应用案例
文档中心
联系我们
欢迎光临
重庆川流机械有限公司
官网!您的肯定是我奋斗的目标!
欢迎光临
重庆川流机械有限公司
官网!
新闻动态
润滑常识
公司动态
机械新闻
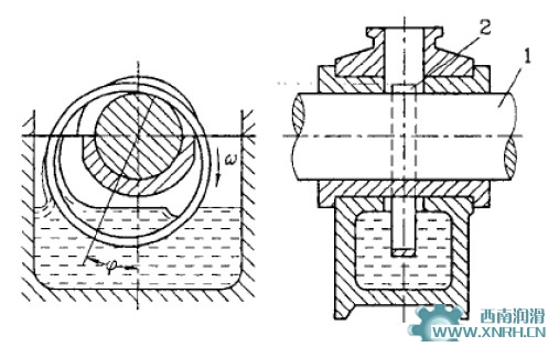
设备润滑之油环与油链润滑
2011-03-08 08:49
关键词:设备润滑,油环,油链润滑
依靠套在轴上的油环或油链将油从油池中带到润滑部位。
如图所示,套在轴1上的油环2下部在油池中,当轴旋转时,靠摩擦力带动油环转动,从而把油带入轴承中进行润滑。
上一篇:设备润滑方式之飞溅润滑
下一篇:机床润滑系统常见故障维修
为您推荐
智能集中润滑系统输送用的润滑脂如何选
国内润滑技术公司的诞生
先进的供油系统:喷射式集中润滑
搞好矿山设备润滑的紧迫性
油气润滑和油雾润滑的比较
相关产品
主站蜘蛛池模板:
东港市
|
介休市
|
镇宁
|
阳新县
|
慈溪市
|
穆棱市
|
威信县
|
中卫市
|
邯郸县
|
安新县
|
屯留县
|
麻江县
|
张家港市
|
讷河市
|
红桥区
|
莒南县
|
翁牛特旗
|
江陵县
|
布尔津县
|
红原县
|
若羌县
|
大同市
|
万全县
|
千阳县
|
东明县
|
芮城县
|
龙州县
|
隆尧县
|
南投县
|
高淳县
|
成武县
|
大姚县
|
岢岚县
|
乌拉特后旗
|
大渡口区
|
镇原县
|
海兴县
|
泾源县
|
大埔县
|
赣榆县
|
墨竹工卡县
|