全国空降免费平台_全国同城空降快餐群_全国空降免费服务平台_全国600城市空降服务电话
Toggle navigation
重庆川流机械有限公司
网站首页
公司简介
企业文化
资质证书
公司业绩
汇款信息
重点客户
产品展示
润滑系统
润滑设备配件
新闻动态
应用案例
文档中心
联系我们
欢迎光临
重庆川流机械有限公司
官网!您的肯定是我奋斗的目标!
欢迎光临
重庆川流机械有限公司
官网!
新闻动态
润滑常识
公司动态
机械新闻
设备润滑方式之油环与油链润滑
2012-03-02 09:06
关键词:设备润滑,润滑方式,油环,油链润滑
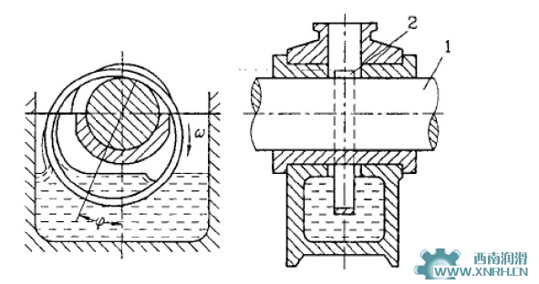
油环与油链润滑依靠套在轴上的油环或油链将油从油池中带到润滑部位。
如图所示,套在轴1上的油环2下部在油池中,当轴旋转时,靠摩擦力带动油环转动,从而把油带入轴承中进行润滑。
上一篇:开式齿轮的传动与润滑
下一篇:抵抗式集中稀油润滑系统组成及特点
为您推荐
智能集中润滑系统输送用的润滑脂如何选
国内润滑技术公司的诞生
先进的供油系统:喷射式集中润滑
搞好矿山设备润滑的紧迫性
油气润滑和油雾润滑的比较
相关产品
主站蜘蛛池模板:
盘锦市
|
福州市
|
胶南市
|
晋州市
|
鲁山县
|
阿拉善右旗
|
法库县
|
玛多县
|
集贤县
|
鹤岗市
|
奉节县
|
庆云县
|
新民市
|
嵩明县
|
项城市
|
山西省
|
漳平市
|
顺昌县
|
乐至县
|
景东
|
根河市
|
望城县
|
孟州市
|
津市市
|
襄城县
|
芜湖市
|
运城市
|
巴林左旗
|
溧水县
|
贞丰县
|
固阳县
|
无棣县
|
宜川县
|
新巴尔虎左旗
|
长子县
|
洪雅县
|
郓城县
|
双辽市
|
利川市
|
成都市
|
平潭县
|